General Assumptions and Notation

1. Coordinate systems

The program will apply several right-handed Cartesian coordinate systems with positive rotations counter-clockwise.

1.1. Global (earth-fixed) coordinate system, XG

It is convenient to define a global earth-fixed coordinate system to which the positions of all local (body) systems are referred. The xy-plane coincides with the calm water. The z-axis points upwards, see Figure 1. The user specifies the propagation directions of the environmental parameters referring to this system.

image003
Figure 1. The global earth-fixed coordinate system.

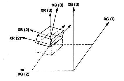
1.2. Local (body-fixed) coordinate system, XB

This local coordinate system follows the body motions and is used to describe the coordinates of positioning elements and coupling elements.

1.3. Body-related coordinate system, XR

This is a local coordinate system that follows the body’s horizontal motion for floating vessels.

The xy-plane is parallel to the calm water plane with the z-axis pointing upwards, see Figure 2. Most coefficients (forces and motion transfer functions) are referred to this coordinate system.

1.4. Coordinate system for description of global degree of freedom, XGB

This is a local coordinate system that follows the body’s horizontal translations.

The three axes are parallel to the Earth-fixed coordinate system XG. The origin of XGB is the origin of the body. The coord. sys. XGB is used to describe the global degree of freedom (for example when restraining global degrees of freedom when using the Newton-Raphson algorithm for static equilibrium calculation).

1.5. Initial coordinate system, XI

This coordinate system coincides with the body-related coordinate system when the time domain simulation starts, and remains fixed during the simulation. First-order wave forces and wave drift forces may be pregenerated in this coordinate system.

2. Body motion

The following terms are used when referring to the motions of a body:

  • Total motion: The motion resulting from all forces acting on the body.

  • Wave frequency motion: The motion resulting from 1st order wave forces.

  • Low frequency motion: The motion resulting from other force models acting on the body - for example wind, current, wave drift, catenary lines and thruster forces. If there is no wave frequency motion the low frequency motion will be equal to the total motion.

3. Definitions and terminology

  • Transfer function: This is the relation between harmonic excitation (for example wave elevation) and its linear response: \(\mathrm {x(t)=R_x\zeta_a\sin(\omega t+\phi _x)}\). The transfer function consists of an amplitude ratio (response/excitation), \(\mathrm {R_x=\displaystyle \frac{x_a}{\zeta_a}}\), and a phase angle, \(\mathrm {\phi _x}\).

  • Phase angle: According to the definition above, this means forward phase shift, i.e. addition to the \(\mathrm {\omega t}\) term in the harmonic function.

  • Phase lag: If the harmonic function is written \(\mathrm {x(t)=x_a\sin(\omega t-\psi_x)}\), the magnitude \(\mathrm {\psi_x}\) is denoted phase lag, \(\mathrm {\psi_x=-\phi _x}\).

4. Spectral analysis

The Fourier transform of a time series is defined by

\[\tilde{a}(\omega )=F\big(a(t)\big)=\frac{1}{2\pi }\int^\infty_{-\infty}a(t)e^{-i\omega t}\mathrm {d}t\]

The inverse Fourier transform is thus defined by

\[a(t)=F^{-1}\big(\tilde{a}(\omega )\big)=\int^\infty_{-\infty}\tilde{a}(\omega )e^{i\omega t}\mathrm {d}\omega\]

The autocorrelation function is defined by

\[r_{xx}(\tau)=\lim_{T\to\infty}\frac{1}{T}\int^T_0x(t)x(t+\tau)\mathrm {d}t\]

The power spectral density function is the Fourier transform of the autocorrelation function

\[S_{xx}(\omega )=F\big(r_{xx}(\tau)\big)=\frac{1}{2\pi }\int^\infty_{-\infty}r_{xx}(\tau)e^{-i\omega \tau}\mathrm {d}\tau\]
\[r_{xx}(\tau)=F^{-1}\big(S_{xx}(\omega )\big)=\int^\infty_{-\infty}S_{xx}(\omega )e^{i\omega \tau}\mathrm {d}\omega\]

The one-sided power spectrum is defined by

\[S^+(\omega )=\begin{cases}S(\omega ),&\omega >0\\0,&\omega <0\end{cases}\]

The variance of a response is the autocorrelation function for zero delay. Thus

\[\sigma _x^2=r_{xx}(0)=\int^\infty_{-\infty}S_{xx}(\omega )\mathrm {d}\omega\]

If \(\mathrm {H(\omega )}\) is a transfer function and \(\mathrm {h(\tau)}\) is the corresponding impulse response function, the transformation pair is

\[\begin{array}{l}\displaystyle H(\omega )=\int^\infty_{-\infty}h(\tau)e^{-i\omega \tau}\mathrm {d}\tau\\\\\displaystyle h(\tau)=\frac{1}{2\pi }\int^\infty_{-\infty}H(\omega )e^{i\omega \tau}\mathrm {d}\omega \end{array}\]

5. General notation

\(\beta\)

direction of wave propagation

\(\Gamma\)

identity matrix

\(\zeta, \zeta_a\)

wave amplitude

\(\Lambda\)

transformation matrix

\(\Phi\)

wave potential

\(\psi_s\)

wave component phase lag

\(\omega\)

angular frequency

\(\dot{\omega}\)

angular velocity vector

\(a_x, a_y, a_z\)

particle acceleration components in the wave field

\(\boldsymbol{A}\)

added-mass matrix

\(\boldsymbol{C}\)

potential damping matrix

\(\boldsymbol{D}_1\)

linear damping matrix

\(\boldsymbol{D}_2\)

quadratic damping matrix

\(g\)

acceleration due to gravity

\(h\)

retardation function

\(h^{(1)}\)

first order impulse-response function

\(h^{(2)}\)

second order impulse-response function

\(H\)

transfer function

\(H^{(1)}\)

first order transfer function

\(H^{(2)}\)

second order transfer function

\(H_s\)

significant wave height

\(k\)

wave number

\(\boldsymbol{M}\)

mass matrix

\(\boldsymbol{P}_B\)

linear momentum vector

\(\boldsymbol{L}_B\)

angular momentum vector

\(\boldsymbol{F}\)

force vector

\(\boldsymbol{I}\)

inertia tensor

\(\boldsymbol{M}\)

moment vector

\(q\)

force

\(\boldsymbol{q}\)

force vector

\(S\)

two-sided power spectrum

\(S^+\)

one-sided power spectrum

\(S^{+ u}\)

wind spectrum

\(S^{+ \zeta}\)

wave spectrum

\(T_Z\)

zero-crossing wave period

\(T_p\)

period of peak wave spectral density

\(u\)

current velocity, wind velocity

\(v\)

wind velocity perpendicular to propagation direction

\(v_x, v_y, v_z\)

particle velocity components in the wave field

\(x\)

position vector

\(z\)

height

6. Interpolation

6.1. Linear interpolation

Simple linear interpolation and extrapolation is the main method used in the program. Note that, for complex numbers, the interpolated modulus is found by interpolation on the function’s modulus, while the argument (polar angle) is found by interpolating the real and imaginary values separately. This method is believed to be most suitable for interpolating functions where the argument changes more rapidly than the modulus. First order wave force transfer functions and Fourier components of waves are examples of such functions.

6.2. Spline interpolation

A standard cubic spline interpolation routine is used. Note that this interpolation requires at least 4 points in the input function.